Скорость и качество строительства. Сделано в России
Соединение свайное штифтовое
Штифтовый способ соединения составных свай известен уже более полувека и широко применяется в мировой практике. Но для российских строителей он, до недавнего времени, оставался импортной диковиной.

Соединение штифтового типа представляет собой комплект из двух закладных деталей, которые размещают на концах секций составных свай в процессе производства на заводе ЖБИ. Каждая из закладных содержит в себе замковые системы.
В процессе погружения на стройплощадке ответные замковые системы нижней и верхней секций сваи соединяются между собой штифтами, которые просто забивают обычной кувалдой, что занимает несколько минут.

Для сравнения, процедуры организации сварного стыка: сварка, контроль качества швов, двухступенчатая антикоррозионная обработка, занимают от одного до полутора часов.

Соединение свайное штифтовое ССШ - российская реализация штифтового способа.
Последовательность организации стыка ССШ
Погруженная нижняя секция составной сваи
Установка верхней секции составной сваи
Забивка штифта
Несущим элементом соединения ССШ, воспринимающим нагрузку на растяжение, сдвиг и изгиб, является система «арматурный анкер - замок».
Обечайка детали обеспечивает дополнительное усиление поперечного сечения в зоне стыка при погружении сваи ударным способом.
Механическая прочность стыка
Соединение ССШ является равнопрочным телу железобетонной сваи, что подтверждено результатами испытаний.
Несущая способность составной сваи сохраняется за счет сохранения площади сечения в зоне стыка.
Охватывающая обечайка детали дает усиление зоны стыка динамическим нагрузкам при погружении ударным способом.
Конструктивная антикоррозионная защита
Арматурный анкер и сварное соединение анкера с замковым элементом имеют первичную антикоррозионную защиту обеспеченную конструктивно - эти элементы замоноличены в бетоне, и не имеют прямого контакта с агрессивной средой.
Соединенные замки расположены внутри конструкции ССШ и не имеют прямого контакта с агрессивной средой.
Замки наполняются консервационной смазкой на заводе. При организации стыка смазка заполняет все полости и зазоры соединения ССШ.
Забивной штифт выполнен из стали с повышенной стойкостью к коррозии, и в стандартном исполнении имеет покрытие способом химического оксидирования
Скорость и качество строительных работ
Полное время организации соединения составной железобетонной сваи составляет от 2 до 8 минут. Протоколы погружения
Качество стыка и составной сваи обеспечивается конструкцией.
Не требуется антикоррозионная обработка стыка на стройплощадке.
Контроль качества работ сводится к фиксации наличия штифтов, забитых вровень с обечайкой.
Полностью российский продукт
Изделия ССШ выпускаются согласно ТУ 25.11.23-001-98399092-2023 "Соединение свайное штифтовое ССШ" на собственном производстве в г.Алапаевск Свердловской области. Все материалы и комплектующие - отечественного производства.
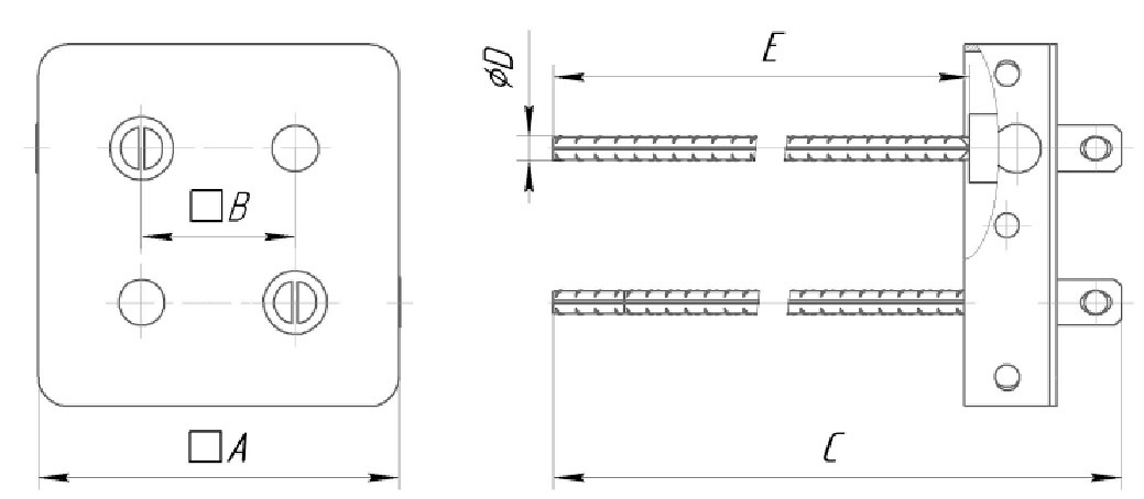
Модельный ряд
Тип закладной детали ССШ формируется по правилу:
[сечение сваи, см]. [диаметр арматурного анкера детали, мм] - [длина арматурного анкера детали, мм]
Как с нами связаться
Вы можете написать или позвонить напрямую, либо задать вопрос через форму связи

ООО "Свайные решения",

Екатеринбург, 620010, ул. Торговая, 2, оф. 219

адрес электронной почты для связи с вами
либо укажите номер телефона для связи с вами
Нажимая на кнопку, вы даете согласие на обработку персональных данных и соглашаетесь c политикой конфиденциальности